- Главная
- Калькулятор
- AB1
AB1
| Крестовина ![]() |
|||
| A | B | Тип | Артикул |
| 22,0 | 54,0 | Стандартная | 200-6154 |
| 22,0 | 54,0 | Усиленная E-kit, интервал смазки до 250 h | 201-6154 |
|
|
|||
| Вилки | |||
Шлицевые вилки ![]() |
|||
| Profile of splines, quantity of splines | Connection type | L, mm | Артикул для заказа |
| 1 3/8" - 6 шлицов | quick disconnect pin | 89 | 102-6106 |
| 1 1/8" - 6 шлицов | quick disconnect pin | 92 | 102-6118 |
| 1 3/8 - 21 шлицов | quick disconnect pin | 89 | 102-6121 |
| 21x25x 6 шлицов | quick disconnect pin | 88 | 102-6125 |
| 32 x 38 x 8 шлицов | quick disconnect pin | 89 | 102-6132 |
| 1 3/8" - 6 шлицов | safety slide lock | 92 | 101-6106 |
| 1 3/8" - 6 шлицов | Auto-Lock | 90 | 110-6106 |
| Различные соединения доступны на заказ. | |||
|
|
|||
Профильные вилки ![]() |
|||
| Профиль трубы | Размер трубы, mm | L, mm | Артикул для заказа |
| треугольная | 26,5 | 66 | 300-6126 |
| треугольная | 32,5 | 66 | 300-6133 |
| * special type | |||
|
|
|||
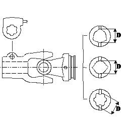
Round bore yokes ![]() |
|||
| D= bore diameter, mm | d= keyway, mm | L, mm | Product number |
| 20 | 6 | 78 | 800-6120 |
| 20 | 78 | 830-6120 | |
| 25 | 8 | 78 | 800-6125 |
| 25 | 78 | 830-6125 | |
| 30 | 8 | 78 | 800-6130 |
| 30 | 78 | 830-6130 | |
| Различные соединения доступны на заказ . | |||
|
|
|||
| Универсальный шарнир
|
|||
| Quick disconnect yoke, spline profile, quantity of splines | Tube profile, tube diameter, mm | Length of joint, mm | Product number |
| 1 3/8" - 6 splines | trill, 26 | 155 | 3001-6106-00 |
| 1 3/8" - 6 splines | trill, 33 | 155 | 3002-6106-00 |
|
|
|||
| Профильная труба кардана | |||
| Type | Внутренняя труба, D x A, mm |
Наружная труба, D x A, mm |
Артикул для заказа |
| 26,5 x 3,4 | 610-2603-000 | ||
| 32,5 х 2,5 | 610-3302-000 | ||
|
|
|||
|
Пластиковая защита кардана с подшипниками
|
|||
| Compressed length (Lz) center cross - center cross | Bearing diameter of inner tube yoke, mm | Bearing diameter of outer tube yoke, mm | Product number |
| 560 mm | 40 | 40 | 904-1000-056 |
| 710 mm | 40 | 40 | 904-1000-071 |
| 1210 mm | 40 | 40 | 904-1000-121 |
| Другие длины в доступности для заказа. | |||
|
|
|||
|
Стандартный карданный вал
|
|||
| Compressed length (Lz) center cross - center cross | Tractor yoke |
Implement yoke |
Product number |
| 560 mm | 1 3/8" - 6 splines quick disconnect pin | 1 3/8"-6 splines quick disconnect pin | 1600-6100-056 |
| 710 mm | 1 3/8" - 6 splines quick disconnect pin | 1 3/8"-6 splines quick disconnect pin | 1600-6100-071 |
| 860 mm | 1 3/8" - 6 splines quick disconnect pin | 1 3/8"-6 splines quick disconnect pin | 1600-6100-086 |
| 1010 mm | 1 3/8" - 6 splines quick disconnect pin | 1 3/8"-6 splines quick disconnect pin | 1600-6100-101 |
| 1210 mm | 1 3/8" - 6 splines quick disconnect pin | 1 3/8"-6 splines quick disconnect pin | 1600-6100-121 |
| Доступны также другие длины и вилки. | |||






